HK G11 Disassembly & How It Works!

In this special video I had the privilege of field stripping a Heckler & Koch G11. We strip the rifle down into its major assemblies and then explain how the ‘space magic’ works!


I explain how the recoil management system, which compensated for the recoil of firing a 3-round burst at ~2,000rpm, worked and how rifle’s ingenious rotating breech operated. This video demonstrates just how complex and ambitious the HK G11 was!

For more information and more photographs of the G11 disassembled check out the original article – here.

This is a remaster of an earlier video with a new fun intro and the full 1990 Aberdeen Proving Ground video filmed by HK, it is the best available look at the G11 in action. I’ve been meaning to remaster this video and make some additions for a while. Hope you enjoy it.


Support Us: If you enjoyed this video and article please consider supporting our work here. We have some great perks available for Patreon Supporters – including early access to custom stickers and early access to videos! You can also find us on the History of Weapons & War app. Thank you for your support!

Introducing the TAB Shop

For a while now we have been meaning to set up a merch shop to help support our research and travel costs.

We greatly appreciate your support via Patreon, but we recognise not everyone can become patrons or likes that platform. Some would prefer to pick up some cool merch now and then instead. So we’ve been hard at work, thinking about potential mech ideas.

Vic & I are very pleased to now announce the shop and the first items to be added. Firstly, a specially written and illustrated ‘informative colouring book’ looking at the ACR program rifles. We know its a bit different but we really hope it’s something will think is cool.

A full announcement about the ACR book will follow shortly!

Along with the ACR book we also have a unique original vinyl sticker based on the HK G11! Finally, we have also got a limited run of fetching TAB logo badges.

You can check out the TAB shop here!

We really hope you’ll like the merch we now have on offer, please feel free to let us know at armourersbench@gmail.com what you’d like to see in the future.

Stripping the HK G11

Our thanks to the collection that holds the G11 for the privileged and nerve-wracking opportunity to field strip it and take a look inside. If you’d like to know more about the history of the G11’s development you can check out our video and full blog on it here. Vic has done a great series of videos looking at the G11 and the other prototype rifles from the US Army’s abortive Advanced Combat Rifle trials – you can find those here.


In this blog we’ll take a closer look at some of the G11’s components, for a demonstration of dissassembly and and explanation of how the rifle works in principal check out the video above.

Firstly, lets take a look at the exterior of the rifle. The weapon has a box-like polymer coated outer shell. The shell is made up of three parts, with the butt assembly and forend locking into the centre assembly which includes the pistol grip, trigger mechanism and optical sight. The forend and butt are locked into the centre assembly by plastic locking tabs. While stiff and somewhat difficult to depress the tabs are reportedly prone to breaking.

2
Left side view of the G11 (Matthew Moss)

Before we look at the G11’s internals lets take a look at the shell components. Here we can see the inside of the forend, we can see a metal (aluminium I believe) barrel tube into which the barrel slides.

DSC_0980
Close up of the the inside of the G11’s forend (Matthew Moss)

Below is a photograph of the rear of the centre assembly looking forward, the small white circle (sadly slightly out of focus) is the bushing the barrel protrudes through into the forend.

DSC_0999
The G11’s centre assembly houses a metal guide rail and magazine guide as well as the trigger mechanism (Matthew Moss)

Next we have a view of the inside of the rifle’s butt assembly. Note the scuff marks on the inside where the centre assembly has scrapped the plastic. We can also see the locking tab windows which are on the top and bottom of the butt.

DSC_0975
A view inside the G11’s butt stock (Matthew Moss)

Inside the butt we can see the ‘toothed wheel’ and ‘sealing gear’ which are turned when the cocking piece is rotated. These plastic pieces act directly on the action. Behind that is the gas escape valve, which will tap off excess gas if over pressure problems occur with the rifle.

DSC_0976
A close up of the sealing gear and toothed wheel that interface with the cocking handle (Matthew Moss)

The first step to disassembling the G11 is ensuring the weapon is clear by pushing the cleaning brush up into the breech.

DSC_0928
Close up of the G11’s cleaning brush, housed inside the pistol grip (Matthew Moss)

Lets now take a look at the rifle’s action up close, below we can see the G11 with its forend and butt assembly removed. Next to it is the breech cylinder and control disk.

DSC_0942
The G11 field stripped (Matthew Moss)

Here are some photos of the action from various angles:

DSC_0943
A view of the action from the rear. We can see the striker assembly, clamping plate, ejector lever and cylinder retaining catch (Matthew Moss)

DSC_0959
From the right side of the gun we can see the two gears which work the breech cylinder – the spur gear and the actuating gear (Matthew Moss)

DSC_0957
On the underside of the action we can see the rear of the clamping plate, the slide – which is slightly worn, and the sear projecting below it (Matthew Moss)

Here’s some close ups of the breech cylinder and control disk:

DSC_0931
The top of the control disk, which has to be removed before the breech cylinder can be (Matthew Moss)

DSC_0934
Underside of the control disk (Matthew Moss)

DSC_0936
Top view of the breech cylinder (Matthew Moss)

DSC_0937
A view of the square chamber which is a replaceable part which is held in the breech cylinder by a circular retaining spring – seen on the right (Matthew Moss)

DSC_0935
The base of the breech cylinder with notches where the actuating gear interfaces (Matthew Moss)

Here are some close ups of the various parts of the action:

DSC_0961
A close up of the rifle’s spur gear – which gives the G11 its almost clockwork appearance (Matthew Moss)

DSC_0954
Another close up of the underside of the action (Matthew Moss)

DSC_0950
Close up of the end of the barrel, with the square outline of the breech chamber visible – the G11’s caseless ammunition was rectangular but the projectile was round in diameter (Matthew Moss)

DSC_0962
Another shot of the rear of the action showing the striker / firing pin assembly and spring  (Matthew Moss)

According to the 1989 armourer’s manual, provided for the ACR trials, the G11 is made up of a total of nearly 450 individual parts. 144 of those make up the G11’s breech assembly.

With the breech and barrel assembly removed from the centre assembly here’s a diagram I put together showing most of the component parts of the G11’s action:

corrected G11 Diagram2

Next lets take a look at the G11’s barrel assembly with its recoil management system and gas piston:

DSC_0985
A bird’s eye view of the G11’s breech and barrel assembly, note the barrel markings (Matthew Moss)

DSC_0983
A side view of the breech with the cylinder and control disk in position (Matthew Moss)

DSC_0981
A view of the housing of the recoil mitigation system, on the other side is the gas piston system (Matthew Moss)

Finally, here’s a photo of the G11 broken down into its major component assemblies: magazine, forend, centre assembly breech & barrel assembly and butt stock:

DSC_0997
G11 field stripped (Matthew Moss)

If you enjoyed the video and this article please consider supporting our work here.


Bibliography

HK G11- ACR. Armourer’s Manual for Maintenance of Repair of Rifle, 4.92mm, ACR, March 1989 (source)

‘Rifle, 4.92mm, ACR’ Operator’s Manual (source)


Please do not reproduce photographs taken by Matthew Moss without permission or credit. ©The Armourer’s Bench, 2018.

Colt Advanced Combat Rifle

This is the final of three introductory videos looking at the US Army’s ACR prototypes. We will be revisiting these rifles later to show disassembly and how they worked. You can check out our introduction to the H&K G11 here, our look at the AAI ACR here, the Steyr ACR here and  you can also find our in-depth ACR Program overview article here.

Colt’s entry was perhaps the most conventional of the designs submitted. Based on the rifle the program sought to replace. Colt’s ACR was essentially an improved M16, which fired both conventional 5.56x45mm ammunition as well as a new 5.56mm duplex round. While the duplex round increase hit probability at shorter ranges, it impacted long range accuracy requiring the additional use of conventional M855 rounds.

DSC_0141
Colt ACR rifle submission Left and right side views of the Colt ACR (Matthew Moss)

It incorporated a variety of improvements including a new oil/spring hydraulic buffer to mitigate recoil. This resulted in a major decrease in the weapon’s recoil, Colt suggested as much as a 40% mitigation. A reshaped pistol grip and a hand guard which mounted a sighting rib for snap shooting – this stemmed from recommendations from the Human Engineering Lab. The weapon had a flat-top upper receiver which incorporated a weaver rail so a 3.5x optic (an early ECLAN) or a more conventional sight/carrying handle could be fitted.

DSC_0139
(Matthew Moss)

The rifle’s collapsible six position telescopic butt stock was an improved version of that offered with Colt’s carbines. When at full extension the Colt ACR was the longest rifle tested, at 40.6 inch or 103 cm long. A distinctive proprietary muzzle brake compensator (MBC) designed by Knight’s Armament was also added. The Knight’s MBC reduced the rifle’s report by 13.5-decibels and also played an important role in recoil mitigation.

DSC_0138
Close up of the Knight’s Armament designed muzzle device (Matthew Moss)

DSC_0137
Right-side close up of the rifle’s receiver and rail mounted Eclan sight (Matthew Moss)

Colt’s duplex rounds were developed by the Olin Corporation and placed two projectiles nose to tail. The projectiles were copper jacketed steel penetrators. In theory the lead projectile would strike at point of aim while the second would strike somewhere near point of aim with in a theoretically limited area of dispersion. The forward round was 35gr while the second was slightly lighter at 33gr.

Colt's 5.56mm Duplex round (US Army)
Colt’s 5.56mm Duplex round (US Army)

During testing one of the duplex rounds was not properly seated inside the cartridge case and when fired became lodged in the barrel and during the course of fire and the weapon’s barrel blew when another round was fired. This was addressed by a slightly larger propellant charge.

Another negative to the Colt entry was that, in addition to having to carry two types of 5.56mm ammunition,  its duplex round offered no improvement in weight and was infact slightly heavier than standard M855 ammunition. While the hydraulic buffer, muzzle device and furniture were not used later, some of the features developed for the ACR entry were later employed in the M16A3 and later A4. These included the selector configuration and the flat-top upper receiver.

If you enjoyed the video and this article please consider supporting our work here.


Specifications (From ACR Program Summary):

Length: 40.6 inches / 103cm (extended) and 36.7 inches / 93.2cm (collapsed)
Weight: 10.3 lbs / 4.67kg
Sights: iron or 3.5x optic
Action: Direct gas impingement
Calibre: 5.56mm duplex round & M855 ball
Feed: 30-round box magazine

You can find out overview article on the ACR program and all of the rifles here


Bibliography:

Advanced Combat Rifle, Program Summary, Vol.1, ARDEC, 1992 (source)

‘Revisiting the SPIW Pt.3’, Small Arms Review, R. Blake Stevens, (source)

The Black Rifle II, C. Bartocci, (2004)

Our thanks to the collection that holds these wonderful examples of the ACR rifles


Please do not reproduce photographs taken by Matthew Moss without permission or credit. ©The Armourer’s Bench 2018

Steyr Advanced Combat Rifle

This is the second of three introductory videos looking at the US Army’s ACR prototypes. We will be revisiting these rifles later to show disassembly and how they worked. You can check out our introduction to the H&K G11 here, our look at the AAI ACR here and  you can also find our in-depth ACR Program overview article here.

By the mid-1980s Steyr-Mannlicher were already leaders in unconventional small arms designs. In 1977 the Steyr AUG was adopted by the Austrian Army becoming the first generally adopted bullpup service rifle.  As such Steyr-Mannlicher’s entry was inevitably a bullpup. Designed by Ulrich Zedrosser the rifle used a gas piston driven rising chamber mechanism which rose and fell to chamber rounds.

DSC_0118
DSC_0115 Left and right side views of the Steyr ACR, note the small AUG-style (Matthew Moss)

The rifle’s action is described in a 1988 patent (US #4949493) granted to Zedrosser, it explains that ” chamber member, which is separate from the barrel… is reciprocable between a firing position and a loading position in a direction which is transverse to the longitudinal direction of the barrel.” This means that the chamber rises and falls, with the rifle firing from an ‘open bolt’.

The patent goes on to explain the weapon’s action:

When the chamber member is in its loading position its chamber is freely accessible and at one end communicates through a loading opening of the firing block with the interior of a magazine holder and at the other end communicates through an ejection opening of the firing block with an ejection shaft. For the performance of the loading and unloading operation, a slider is provided, which is movable in the longitudinal direction of the barrel and carries a feeder, which is movable from a first end position… when the chamber member is in its loading position, and the movement of the chamber member from its loading position to its firing position is adapted to be initiated before the feeder reaches that end position in which the feeder extends into the loading opening.

Steyr_ACR_layout_schematic
Patent drawing showing the Steyr ACR’s bullpup layout (US Patent Office)

One of the other patents (US #4817496) protecting the design explains the weapon’s gas system:

In order to provide a gas drive which is particularly simple and functionally reliable, light in weight and compact, the barrel is provided with a collar or the like, which constitutes a stationary pneumatic piston, and the pneumatic cylinder consists of a sliding sleeve, which surrounds the collar and is longitudinally displaceable between stops.

US4949493-1
Patent diagram showing the Steyr ACR’s action (US Patent Office)

The Steyr ACR, like AAI’s entry, fires flechettes but Steyr’s are housed inside a cylindrical polymer case. The bullpup Steyr was the second shortest at 30 inches (76cm) and the lightest of the rifles submitted weighing 8.5 lbs (3.86kg).

The Steyr ACR borrows its ergonomics from its conventional forebearer, the AUG. With a moulded green plastic stock and a similar pistol grip, magazine release, trigger and safety layout. Unlike the AUG, however, the ACR uses an AR-15 style charging handle located at the rear of the sight mounting block and the stock extends further forward to encompass the barrel and gas system. The rifle could be fitted with a variable 1.5x to 3.5x optic or use iron sights.

DSC_0150
Comparison of the Steyr ACR with the earlier AUG (Matthew Moss)

As discussed earlier the rifle does not use a conventional bolt, instead it uses a rising chamber, as a result the rifle fired from an open bolt. A live round only entered the chamber after the trigger had been pulled, thus reducing the potential for cook-offs. Spent polymer cases were pushed out of the chamber and ejected from an opening just in front of the magazine well.

Steyr's Polymer Cased Flechette round (US Army)
Steyr’s Polymer Cased Flechette round (US Army)

Feeding from a 24-round box magazine, made from the same translucent material used in conventional AUG magazines. The magazine goes from double stack to single stack, to allow it to feed reliably, as a result the capacity had to be shortened. A high capacity drum magazine was planned but not provided for the trials. The polymer case held a fin stabilised 9.85 gr flechette with a moulded four piece sabot which broke up soon after exiting the muzzle. This was identified as a shortcoming as it risked hitting nearby troops.

ACR Program Summary recognised the Steyr ACR entry as “the simplest weapon, the simplest round, and the most cost effective approach of any of the ACR contenders.” The report noted that the weapon’s “greatest current deficiency is its poor round to round dispersion characteristics.” This was a criticism levelled at both the flechette firing entries, it essentially ended the US Army’s interest in flechette firing individual weapons, relegating the concept to larger area effect weapon systems.

If you enjoyed the video and this article please consider supporting our work here.


Specifications (From ACR Program Summary):

Length: 30 inches / 76cm
Weight: 8.5 lbs / 3.86kg
Sights: Iron or variable 1-3.5x optic
Action: gas-operated, rising chamber
Calibre: 5.56mm plastic cased flechette
Feed: 24-round magazine

You can find out overview article on the ACR program and all of the rifles here


Bibliography:

Advanced Combat Rifle, Program Summary, Vol.1, ARDEC, 1992 (source)

‘Revisiting the SPIW Pt. 1-3’, Small Arms Review, R. Blake Stevens, (123)

Steyr’s ACR entry was extensively protected by various patents:

US #4944109
US #4817496
US #4930241
US #4949493
US #4916844
US #4760663
US #4739570
US #4941394

Our thanks to the collection that holds these wonderful examples of the ACR rifles


Please do not reproduce photographs taken by Matthew Moss without permission or credit. ©The Armourer’s Bench 2018

AAI Advanced Combat Rifle

This is the first of three introductory videos looking at the US Army’s ACR prototypes. We will be revisiting these later to show disassembly and how they worked. You can check out our introduction to the H&K G11 here. You can also find our in-depth ACR Program overview article here.

The AAI Corporation was founded in 1950, as Aircraft Armaments, Inc., and has long been involved in advanced firearms design, taking part in a number of the US military’s previous small arms programs. Throughout the Cold war AAI was involved in the US Army’s search for a new advanced infantry weapon system. Before we examine the AAI ACR, it is important to understand the context in which it evolved.

The Special Purpose Individual Weapon (SPIW) program, an off-shoot of Project SALVO began in the early 1950s and ran until the late 1960s. During the SPIW program AAI developed a series of designs, including an entire family of weapons, which used flechette technology. These culminated with the XM19 rifle, or SFR – Serial Flechette Rifle.  The XM19 represented the pinnacle of over a decade of flechette technology development, however, the end of the US war in Vietnam saw the need for SPIW disappear and the program was wound down.

4 guns from AAI's family of weapons 60s SPIWs
AAI SPIW family of weapons from the early 1960s (Reproduced in Stevens & Ezell’s SPIW Deadliest Weapon)

In the early 1970s SPIW essentially morphed into the Future Rifle Program, but with the end of US involvement in Vietnam, this also proved a failure. During the early 1980s the US Army awarded development contracts to both AAI and Heckler & Koch to develop caseless ammunition and a weapon system capable of firing it. While H&K G11 is no doubt the better known of the two weapons, AAI’s Caseless Weapon, while a move away from flechette technology, was also an interesting design.

AAI's Caseless Ammunition Rifle (US Army)
AAI’s Caseless Ammunition Rifle, another image available here (US Army)

Firing a variety of ammunition the AAI design was capable of firing a high cyclic rate 3-round burst at 1600-1800rpm. The ACR program summary report noted that the AAI Caseless project was feasible and only lacked development funding to make it a reality, as the design was much simpler than the G11.

AAI were one of six companies to respond to the ACR program’s Request for Proposals, released in September 1985. AAI’s ACR was an evolution of the earlier SFR/XM19 rifle. The weapon AAI submitted was gas-operated, fed from a 30-round box magazine, and fired a brass cased flechette round in either single shot or a high cyclic rate three round bust – fired at a cyclic rate of ~1800rpm.

Left of the AAI ACR rifle (Matthew Moss)
Left-side view of AAI Corporation’s ACR entry (Matthew Moss)

AAI Corp ACR rifle (Matthew Moss)
Right-side view of AAI’s ACR entry (Matthew Moss)

AAI’s ACR fired from a closed bolt and used a muzzle device to reduce muzzle climb during burst firing. The 1990 ACR Program Summary report explains how the rifle’s gas system worked:

“…incorporate an ‘entrapped gas’ operating system. Gun gases enter a cylinder, drive a piston to power the system, and prevent any leakage of propellant gases and residues into the other mechanism parts.”

AAI developed a polymer saboted steel 10.2 gr ‘sub-calibre’ flechette which fitted within a standard M855 brass case. As a result the rifle used a proprietary magazine to avoid the accidental chambering of conventional 5.56x45mm rounds. The flechette rounds had a muzzle velocity of 4,600 ft/s with propellant produced by the Olin Corporation.

DSC_0146
An AAI Corporation ACR marked serial number 20 (Matthew Moss)

The rifle was designed to mount a quick detachable 4x optic and also had a white-highlighted shotgun-style rib sight along the barrel to aid snap shooting. The rifle was one of the longest entries with an overall length of 40 inches or 101.6cm. Interestingly, rather than a push-button magazine release, AAI opted for a large paddle release.

Front end of AAI ACR (Matthew Moss)
The fore-end of the AAI ACR, note the front sight post and muzzle device which reduced muzzle climb during burst firing (Matthew Moss)

AAI’s rifle borrowed some of its external ergonomic characteristics from the M16A2, then in service. With a moulded polymer pistol grip and butt, forming part of the lower receiver, shaped to mimic the M16’s. It also utilised the M16’s sling loops and butt plate.

According to the ACR program summary the AAI entry proved to be a “mature design which performed in a reliable fashion” during the field trials. It was regarded as a weapon with known reliability with a flechette round superior to the Steyr, the other flechette-based entry.

AAI ACR Ejection Port (Matthew Moss)
Close up of the right-side of the AAI ACR, note the ejection port and moulded plastic case deflector, selector level, paddle magazine release and sight mount (Matthew Moss)

Today, AAI continue to develop both small arms and other defence technologies. Now a part of Textron, they are currently involved in the US Army’s Lightweight Small Arms Technologies (LSAT) program.

If you enjoyed the video and this article please consider supporting our work here.


Specifications (From 1990 ACR Program Summary):

Length: 40 inches / 101.6cm
Weight: 9.39 lbs / 4.26kg
Sights: Iron or 4x optic
Action: Gas operated
Calibre: 5.56mm brass cased flechette
Feed: 30-round box magazine

You can find out overview article on the ACR program and all of the rifle here.


Bibliography:

Advanced Combat Rifle, Program Summary, Vol.1, ARDEC, 1992 (source)

‘Revisiting the SPIW Pt. 1-3’, Small Arms Review, R. Blake Stevens, (123)

The SPIW The Deadliest Weapon that Never Was, R. Blake Stevens & E.C. Ezell (1985)

Our thanks to the collection that holds these wonderful examples of the ACR rifles


Please do not reproduce photographs taken by Matthew Moss without permission or credit. ©The Armourer’s Bench 2018.

Advanced Combat Rifle Prototypes

4 ACR program Rifle (Matthew Moss)
The four rifles tested during the final phases of the ACR program, AAI, Colt, H&K, Steyr (Matthew Moss)

With so few primary or secondary sources on the ACR program available, this article relies heavily on the 1990 program summary report written by the US Army Armament Research, Development and Engineering Center (ARDEC). Over the next three articles we will examine the AAI, Colt, and Steyr ACR entries. The H&K entry was covered earlier – here.

In the early 1980s the US Army began looking into what form a replacement for the M16A1 might take. The Joint Service Small Arms Program undertook a study and found that in the long term a “technology base should be developed to support a significant improvement in capability.” This meant the US infantryman’s next rifle would move away from conventional ammunition and actions.

The Advanced Combat Rifle program began in January 1985, to foster the development and select a rifle that would give troops a distinct advantage on the battlefield. The project’s ambitious aim was to address the human shortcomings of the average soldier in the field. It was found that combat stress, fear and fatigue negatively impacted on a rifleman’s ability to hit a target once engaged in combat.

US Army Future Sldier 1959
US Army’s 1959 Future Soldier Concept, with M14 (LIFE )

The ACR program sought to compensate for this by maximising hit probability when engaging fleeting targets in battlefield conditions. The program called for:

“an enhancement in hit probability of at least 100 percent at combat ranges over the baseline performance of the M16A2 rifle… at extended ranges, the improvement required will be considerably greater than 100 percent. The weapon will be expected to enable the rifleman to detect rargets at ranges greater than 400m in offensive action and at least 1000m during the conduct of the defense.”

This was a tall order, calling for a weapon with an optic and the ability to engage long range targets, which were envisaged to be wearing body armour, but also engage fleeting targets. But the ACR program was far from the US military’ first ambitious small arms project.

The ACR program built on the Special Purpose Individual Weapon (SPIW) program that had been established in the 1950s to produce the next generation of infantry weapon capable of firing busts of flechettes at extremely high rates of fire to improve hit probability. This task proved technologically insurmountable during the 1950s and 60s. The SPIW program ended in the late 1960s, but was followed in the early 1970s by the Future Rifle Program which also proved a failure. Despite these failures the programs helped to push small arms technological boundaries.

In the video below, produced by ARDEC for the US Department of Defence, we see the ACR program briefly explained and the various rifles introduced with some firing footage:

The approaches used by the companies that entered the ACR competition varied greatly. Ranging from rifles with complex buffer systems to weapons that fired duplex and flechette rounds.

The first Request for Proposals was released in September 1985, with six companies successfully submitting proposals. These companies, which were awarded a Phase I contract, were: AAI Corporation, Ares Incorporated, Colt’s Manufacturing Company, Heckler & Koch (H&K), McDonnell Douglas Helicopter Systems (MDHS), and Steyr Mannlicher. In 1987, following Phase I of the program the entries from Ares and MDHS were dropped due to ‘hardware immaturity’ – the concepts were not developed enough. Both companies appealed and were allowed to enter designs to Phase II but neither was sufficiently developed to compete in the later trials and testing.

Each company approached the program’s aims in a different way. Two utilised flechette technology, which had been developed during the SPIW program, with the AAI using a brass cased round while the Steyr ACR used a polymer case. Colt’s entry used a duplex round with two projectiles stacked in the cartridge case. Heckler & Koch’s G11 used a complex buffer system to reduce felt recoil after firing a ‘hyper burst’ of three rounds at ~2,000 rounds per minute.

Lets take a look at the individual weapon systems:

AAI Corporation

AAI Corp ACR rifle
AAI Corporation’s ACR entry (Matthew Moss)

Check out Vic’s video on the AAI ACR and an article with further detail here

AAI Corporation had long been involved in advanced firearms design, taking part in the US military’s previous programs. The AAI ACR was an evolution of the earlier SFR/XM19 rifle. AAI’s ACR was gas-operated, feeding from a 30 round box magazine and fired a brass cased flechette round in either single shot or a high cyclic rate three round bust.

It fired from a closed bolt and used a muzzle device to reduce muzzle climb during burst fire. AAI developed a polymer saboted steel 10.2 gr flechette which fitted within a standard M855 brass case. As a result the rifle uses a proprietary magazine to avoid the accidental chambering of conventional 5.56x45mm rounds. These rounds had a muzzle velocity of 4,600 ft/s.

Diagram showing AAI's saboted flechette round inside a 5.56x45mm M855 case (US Army)
Diagram showing AAI’s saboted flechette round inside a 5.56x45mm M855 case (US Army)

The rifle was designed to mount a quick detachable 4x optic and had a white-highlighted shotgun-style rib sight along the barrel to aid in snap shooting. The rifle was one of the longest entries with an overall length of 40 inches or 101.6cm.

According to the ACR program summary the AAI entry proved to be a “mature design which performed in a reliable fashion” during the field trials.

Specifications (From ACR Program Summary):

Length: 40 inches / 101.6cm
Weight: 9.39 lbs / 4.26kg
Sights: Iron or 4x optic
Action: Gas operated
Calibre: 5.56mm brass cased flechette
Feed: 30-round box magazine

Colt’s Manufacturing Company

Colt ACR rifle submission
Colt’s ACR entry (Matthew Moss)

Check out Vic’s video on the Colt ACR and an article with further detail here

Colt’s entry was perhaps the most conventional of the designs submitted. Based on the rifle the program sought to replace. Colt’s ACR was essentially an improved M16, which fired both conventional 5.56x45mm ammunition as well as a new 5.56mm duplex round. While the duplex round increase hit probability at shorter ranges, it impacted long range accuracy requiring the additional use of conventional M855 rounds.

It incorporated a variety of improvements including a new oil/spring hydraulic buffer to mitigate recoil. A reshaped pistol grip and a hand guard which mounted a sighting rib for snap shooting. The weapon had a flat-top upper receiver which was railed so a 3.5x optic (an early ECLAN) or a more conventional sight/carrying handle could be fitted.

Colt's 5.56mm Duplex round (US Army)
Colt’s 5.56mm Duplex round (US Army)

The rifle’s collapsible six position telescopic butt stock was an improved version of that offered with Colt’s carbines. When at full extension the Colt ACR was the longest rifle tested, at 40.6 inch or 103 cm long. A distinctive proprietary muzzle brake compensator designed by Knight’s Armament was also added.

During testing one of the duplex rounds was not properly seated inside the cartridge case and when fired became lodged in the barrel and during the course of fire and the weapon’s barrel blew when another round was fired. This was addressed by a slightly larger propellant charge. Some of the features developed for the ACR entry were later employed in the M16A3 and later A4.

Specifications (from ACR Program Summary):

Length: 40.6 inches / 103cm (extended) and 36.7 inches / 93.2cm (collapsed)
Weight: 10.3 lbs / 4.67kg
Sights: iron or 3.5x optic
Action: Direct gas impingement
Calibre: 5.56mm duplex round & M855 ball
Feed: 30-round box magazine

Heckler & Koch

Heckler & Koch's G11K2, ACR entry
Heckler & Koch’s G11K2, ACR submission (Matthew Moss)

Check out our full article on the G11 and our introductory video showing two examples of the weapon partially disassembled here

Heckler & Koch had been involved in the West German Bundeswher’s attempts to create a next generation infantry weapon. The result was the G11, the G11 had been in development since the late 1960s and by the time it was entered into the ACR program it had evolved into a complex weapon unlike any other. Utilising a gas-operated, rotary breech to fire self-contained caseless 4.73×33mm projectiles. The rotary breech chamber was introduced as a means of clearing misfired, broken or defective cartridges from the enclosed system. Simplicity was sacrificed to achieve reliability.

The US had awarded H&K a contract to develop caseless ammunition, optics and the salvo concept in 1982. With the G11 in development they then entered the ACR program. The bullpup H&K was the shortest of the weapons entered into the trial at 29.5 inches / 74.9cm. It was equipped by a variable 1-3.5x optic designed by Swarovski.

g11round5
Diagram showing the composition of the G11’s telescoped caseless ammunition (source)

The revolutionary ammunition was developed by Dynamit-Nobel AG.
The 4.73x33mm, 51gr round which was finalised comprised of a solid propellant material body which encased a primer, booster, projectile and a plastic nose cap. Dynamit-Nobel developed the High Ignition Temperature Propellant (HITP) in an effort to prevent accidental ignition (cook-off) of the ammunition’s outer propellant body. The ACR program summary notes that “the majority of the malfunctions/stoppages experience in the field experiment were ammunition related.”

The H&K ACR fed from a single stack, horizontally orientated 45-round magazine which sat above the barrel.

The G11 used a counter-recoil buffer mechanism to allow high rates of burst fire – hyper burst. When firing three round bursts the weapon could send the rounds downrange at a rate of ~2,000 rounds per minute, only when the last round has left the barrel does the barrel and action begin to recoil inside the stock along a central guide. The recoil impulse was then quite strong. When in sustained fire the rate of fire is closer to ~460 per minute. A more detailed explanation of the G11’s action can be found here.

Specifications (from ACR Program Summary):

Length: 29.5 inches / 74.9cm
Weight: 9.15 lbs / 4.15kg
Sights: Variable 1-3.5x optic
Action: gas-operated, rotary breech
Calibre: 4.92mm caseless
Feed: 45-round single stack magazine

Steyr-Mannlicher

Steyr ACR Rifle
Steyr ACR entry (Matthew Moss)

Check out Vic’s video on the Steyr ACR and an article with further detail here

Steyr-Mannlicher’s bullpup entry uses a gas piston driven rising chamber mechanism which rises and falls to chamber rounds as the action cycles. The Steyr ACR, like AAI’s entry, fires flechettes but Steyr’s are housed inside a cylindrical polymer case. The bullpup Steyr was the second shortest at 30 inches (76cm) and the lightest of the rifles submitted weighing 8.5 lbs (3.86kg).

The Steyr ACR borrows its ergonomics from its conventional forebearer, the AUG. With a moulded green plastic stock and a similar pistol grip, trigger and safety layout. Unlike the AUG, however, the ACR uses an AR-15 style charging handle located at the rear of the sight mounting block. The rifle could be fitted with a variable 1-3.5x optic.

The rifle does not use a conventional bolt, instead it has a rising chamber, as a result the rifle fired from an open bolt. A live round only entered the chamber after the trigger had been pulled, thus reducing the potential for cook-offs. Spent polymer cases were pushed out of the chamber and ejected from an opening just in front of the magazine well.

Steyr's Polymer Cased Flechette round (US Army)
Steyr’s Polymer Cased Flechette round (US Army)

Feeding from a 24-round box magazine, made from the same translucent material used in conventional AUG magazines. The magazine goes from double stack to single stack, to allow it to feed reliably, as a result the capacity had to be shortened. A high capacity drum magazine was planned but not provided for the trials. The polymer case held a fin stabilised 9.85 gr flechette with a moulded four piece sabot which broke up soon after exiting the muzzle. This was identified as a shortcoming as it risked hitting nearby troops.

Specifications (from ACR Program Summary):

Length: 30 inches / 76cm
Weight: 8.5 lbs / 3.86kg
Sights: Iron or variable 1-3.5x optic
Action: gas-operated, rising chamber
Calibre: 5.56mm plastic cased flechette
Feed: 24-round magazine


After several years of development, while the Army organised testing, the four firms delivered their prototypes in 1990. During Phase III the rifles were tested on the specially built Buckner Range – designed to recreate field conditions and create fleeting targets at various ranges. The M16A2 was used as a baseline weapon throughout all of the tests which included safety and engineering testing, lethality tests and testing in field conditions.

Initially planned as an all-services test both the US Navy and Marine Corps pulled out of the ACR program in 1987, leaving the Army and Air Force. With the testing complete it was found that none of the rifles proved to be significantly more lethal or effective than the M16A2 they were pitted against. The program summary put a rather positive spin on the program’s failings, concluding that despite the increased hit probabilities not being attained as a technology base program, the ACR program was a success. The soldiers taking part in the field tests performed better than expected and “the baseline performance of the M16A2 rifle was better than anticipated in terms of hit probability.”

The report concluded that the program had helped push small arms technology forward, noting that while flechettes proved to be too inaccurate for an individual weapon,

“The feasibility of caseless and lightweight plastic-cased ammunition has more than been demonstrated in this program. Few problems were experienced with the [H&K] caseless rifles in the test. The past technical barriers of cook-off and vulnerability have now been overcome. …plastic cases cannot be used in conventional weapons like the M16A2, but with weapons specifically designed for it, complete plastic cases are feasible.”

This last observation is something that is again now being developed in the Lightweight Small Arms Technologies (LSAT) program, which has now been linked with the US Army’s current Next Generation Squad Weapon program.

With the end of the ACR program the school of thought moved towards the use of high explosive and airburst munitions by individual soldiers. The Objective Individual Combat Weapon program ran throughout the early 1990s and while it lead to the adoption of some new weapons, such as the M320 grenade launcher, it also failed in its goal to create an integrated individual weapon system.

If you enjoyed the video and this article please consider supporting our work here.


Bibliography:

Advanced Combat Rifle, Program Summary, Vol.1, ARDEC, 1992 (source)

‘Revisiting the SPIW Pt.3’, Small Arms Review, R. Blake Stevens, (source)

Our thanks to the collection that holds these wonderful examples of the ACR rifles


Please do not reproduce photographs taken by Matthew Moss without permission or credit. ©The Armourer’s Bench 2018

Photos: Heckler & Koch G11 ACR

Here are a selection of external photographs showing the H&K G11 submitted to the US Army’s Advanced Combat Rifle trials in the mid-1980s. You can watch our introductory video featuring two G11s here.

Note: While this collection of images covers only the externals of the G11, rest assured that if and when we get the opportunity we will follow this up with hi-res photographs of the weapon disassembled!  UPDATE – We disassembled a G11!

1
Right side view of the G11, note the muzzle plug inserted into the barrel (Matthew Moss)

2
Left side view of the G11, note the small window in the magazine showing the follower spring (Matthew Moss)

3
Close up of the right side of the G11’s fire selector (safe – semi – hyperburst – full auto), trigger and grip which enclosed a ‘control brush’ used to check the chamber was empty and in cleaning (Matthew Moss)

4
Left side close up of the G11’s selector, trigger and pistol grip – note also the rifle’s designation,  serial number, presumably manufacturing date and calibre moulded into the weapon’s casing (Matthew Moss)

5
A view of the G11 from above – note the alignment of the magazine and the lack of later additional channels for spare magazines seen in some G11K2s (Matthew Moss)

6
Close up of the G11’s foregrip and sling loop and an empty magazine loaded into the weapon  (Matthew Moss)

7
Close up of the weapon’s rotating ‘cocking handle’and pressure valve, note the white arrow indicating the direction to twist the handle to cock the weapon – the plastic folding handle on this example has sadly broken off, a common issue with G11s (Matthew Moss)

8
Close up of the left side of the G11’s ‘central part’, as HK described it, into which the barrel and breech assembly slide (Matthew Moss)

Many thanks to the collection, which wishes to remain anonymous, that holds this example of the G11 for the opportunity to examine, photograph and film it.

If you enjoyed the video and this article please consider supporting our work here.


Please do not reproduce photographs taken by Matthew Moss without permission or credit. ©The Armourer’s Bench 2018.

An Introduction to the Heckler & Koch G11

 

Vic kicks off his series looking at the US Army’s ACR trials rifles with a look at, not one but two versions of, Heckler & Koch’s advanced caseless ammunition assault rifle – the G11. This video is an introductory overview, we’ll be delving into the G11’s insanely intricate and wonderfully complex action in later videos!

DSC_0131
HK ACR 4.92x34mm G11 (Matthew Moss)

There are few experimental weapons that have cultivated myth and reputation like Heckler & Koch’s G11. The product of decades of research and development into what was hoped would be the next evolutionary step in small arms design. The G11 was Germany’s attempt to combine advanced caseless ammunition with a weapon system which could increase the average infantryman’s hit probability. The G11’s action has three distinct modes of fire and uses a complex action and buffer/recoil system to achieve a high rate of controlled fire.

The program began in the late 1960s as part of a NATO initiative, however, it became a primarily Bundeswehr project and over two decades the design evolved substantially. The project sought to increase the hit probability of the individual infantryman. Heckler & Koch’s approach to this problem was the most radical. Working with Hensoldt to develop an integrated optical sight and with Dynamit-Nobel to create a new kind of ammunition.

Numerous studies and theoretical designs were worked up but by the mid-1970s the base design of what would become the G11 was cemented. The design team included Gunter Kastner, Dieter Ketterer, Tilo Moller and Ernst Wossner – all of whom are credited in H&K’s 1976 patent protecting the G11’s rotary action.

The G11 went through dozens of iterations throughout the 1970s and 80s, with the first firing prototypes ready by 1974. Both the design and the ammunition also went through a number of changes.

g11round5
Diagram showing the composition of the G11’s caseless ammunition (source)

The revolutionary ammunition was developed by Dynamit-Nobel AG.

The 4.73x33mm round which was finalised comprised of a solid propellant material body which encased a primer, booster, projectile and a plastic nose cap. Dynamit-Nobel developed the High Ignition Temperature Propellant (HITP) in an effort to prevent accidental ignition (cook-off) of the ammunition’s outer propellant body.

The G11 fed from 45 or 50-round horizontal, single stack box magazines which fed rounds into the action at 90-degrees. The rounds were then rotated into alignment with the breech by the rifle’s action.

The rectangular shape of the Dynamit-Nobel ammunition was more efficient and better suited to storage than conventional circular rounds. The positioning of the magazine along the top of the weapon, parallel to the barrel, also in theory helped minimise the rifle’s profile and reduce encumbrance for the soldier equipped with the weapon.

The G11 is a gas-operated weapon with gas being tapped from the barrel, to cycle the rifle’s cylinder drive system, which rotated the breech through a series of cams and gears. At the heart of the G11 is a complex rotary action. Rotating actions themselves are not a new concept with the earliest dating back to the 17th century, such as the Lorenzoni system.

The G11’s rotating breech was patented in late 1976 by Heckler & Koch. While our initial video does not go into detail on how the G11 operates, we will be covering this in later videos, this article will explain the action in more general terms.

1
H&K’s early patent showing the G11’s rotating action – note the early incarnation of the ammunition with the projectile protruding from the propellant block (source)

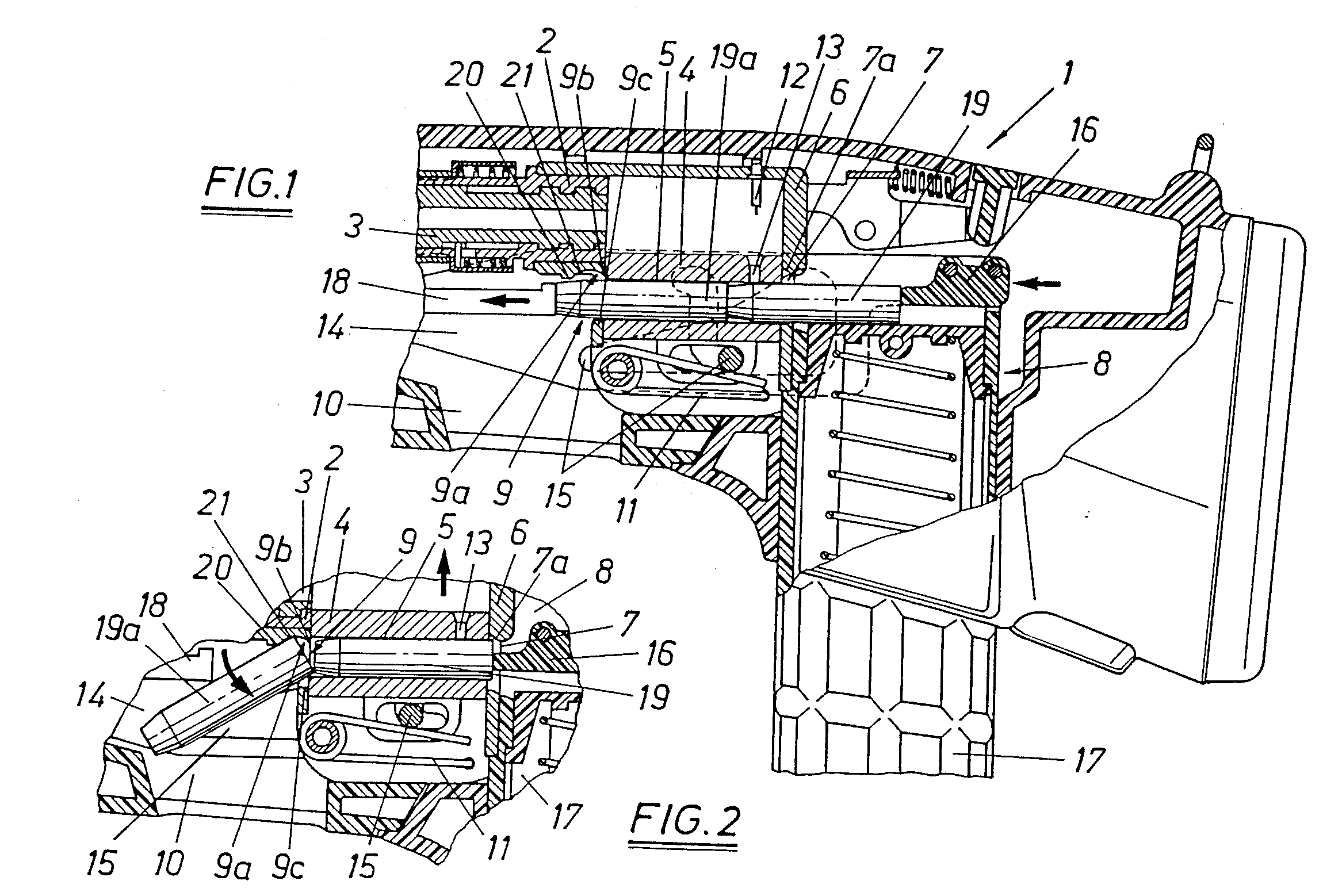
Below are two diagrams showing the internal layout and major components of the G11 from a March 1982 draft of the ‘Rifle, 4.92mm, ACR’ armourer’s manual (source). It shows the major assembly groups and also a component list for the breech assembly.

From the diagram we can see the various action parts which feed the projectile into the breech, lock the action and ignite the round. We can also see the counter-recoil system beneath the barrel.

 

 

This slideshow requires JavaScript.

The G11 used a counter-recoil buffer mechanism to allow high rates of burst fire. When firing three round bursts the weapon send the rounds downrange at a rate of ~2,000 rounds per minute, only when the last round has left the barrel does the barrel and action begin to recoil inside the stock along a central guide. When in sustained fire the rate of fire is closer to ~460 per minute.

g11recoil
H&K promotional diagram showing the G11’s mounted recoil system (source)

The buffer spring below the barrel is compressed as the recoiling barrel and breech assembly moves. In sustained fire the buffer spring is partially compressed with each round, but in burst fire the buffer is compressed to its maximum hitting before the buffer housing (which is when recoil from the burst is felt by the operator), this is described as having the barrel and breech assembly ‘float’.

To ready the weapon to fire a magazine was loaded into the magazine channel on top of the G11, a magazine dust door, which automatically closed when unloaded, was depressed as the magazine was pushed home. The cocking handle on the left side of the butt was then actuated. The operator rotated the handle 360-degrees counter-clockwise until the weapon was cocked (essentially like winding a clock). The same process will eject any rounds left in the chamber once the magazine has been removed.

Gas tapped from the barrel cycles the cylinder drive system with gas pushing a piston back to act on a series of gears which rotated the rotary breech from horizontal to vertical to allow a new cartridge to drop into the breech. There was a vent for high pressure gas underneath the butt stock this prevented pressure build up and mitigated some of the thermal build up.

6626263
Members of the Gebirgsjäger (Bundeswehr alpine light troops) on the march with G11s (source)

The G11 K1 was tested by the German Army in the late 1980s with adoption planned for the early 1990s. Heckler & Koch continued to develop the G11, entering the G11 K2 into the US Army’s Advanced Combat Rifle (ACR) trials alongside entries from Steyr, AAI and Colt [all of which we will examine in upcoming videos]. However, the fall of the Berlin Wall in 1989 and the collapse of the Soviet Union in 1991 meant that West Germany no longer had the huge amount of funds needed to field the G11. At the same time the ACR program ended inconclusively and the G11 project was finally abandoned.

The extreme complexity of the design, the inadequacy of the weapon’s ergonomics and its inevitably high production cost casts doubt on whether the G11 would ever have seriously been considered for widespread adoption. Regardless of this the G11 is a fascinating footnote in small arms history representing a false start along a technological avenue which, with the Lightweight Small Arms Technologies (LSAT) program, may still prove fruitful. Heckler & Koch and Dynamit-Nobel’s ambitious design marks one of very few serious and potentially successful attempts engineers to overcome the plateau that firearms technology is currently stuck on.


Stripping the HK G11

DSC_0997
G11 ACR disassembled to its major assemblies (Matthew Moss)

Matt recently had the opportunity to disassemble a G11 and get a look inside the action. In this special video and accompanying full-length article he explains how the rifle strips and how it works! Check out the video here.

If you enjoyed the video and this article please consider supporting our work here.


Technical Specifications (from 1989 H&K Brochure):

Length: 75cm (29.3in)
Weight (unloaded): 3.8kg (8.4lb)
Barrel Length: 54cm (21.3in)
Action: Gas-Operated, rotary breech
Calibre: 4.73x33mm
Feed: 45 or 50-round, single stack, box magazine
Cyclic Rate: sustained fire: ~460rpm /  3-round burst: ~2,000rpm


Bibliography:

Die G11 Story. Die Entwicklungsgeschichte einer High-Tech-Waffe, W. Seel, 1993

‘Shoulder Arm with Swivel Breech Member’, US Patent #3997994, 21 Dec. 1976, (source)

‘Automatic or Semi-Automatic Small Arm’, US Patent #4078327, 14 Mar. 1978, (source)

From the Small Arms Review Archive:

HK G11- ACR. Armourer’s Manual for Maintenance of Repair of Rifle, 4.92mm, ACR, March 1989 (source)

‘Rifle, 4.92mm, ACR’ Operator’s Manual (source)

HK G11 Caseless Ammunition Weapon System. The G11 Rifle. HK Factory Brochure, 1989 (source)

Our thanks to the collections that hold these examples of the G11. While one wishes to remain anonymous, we would like to thank the Dutch Military Museum for access to their G11.


Please do not reproduce photographs taken by Matthew Moss without permission or credit. ©The Armourer’s Bench 2017.